
全球趋势
2024年全球销量最高的车型并非特斯拉Model Y(118.5万辆),而是丰田RAV4(含荣放、威兰达),其全年销量达118.7万辆,以微弱优势超越登顶。
车辆搭载的2.5L Dynamic Force (A25A) 系列发动机是丰田新全球架构(TNGA)推动下全新研制的动力单元。TNGA 旨在简化车型平台与发动机系列,将800 多种旧款发动机精简为仅9种发动机、17个版本。A25A 是为中级/中大型车打造的高热效率发动机,2017年首次搭载在第八代凯美瑞上。

第八代凯美瑞上的这台2.5L发动机历经5年研发,采用许多前沿技术。它不仅采用了全新缸体、缸盖、进排气系统等,并进行了小型化、高性能化设计。丰田设计师的核心目标是在不牺牲动力的前提下,追求极致燃油经济性和排放性能——以往的动力与油耗平衡被重新定义。
2.5L Dynamic Force 从零起点开发,它不是传统小改版,而是为满足更高法规与市场需求而生的“教科书式”设计,热效率和紧凑度都实现了质的飞跃。
但……对于发动机来说,什么才是灵魂?各种观点就是见仁见智的分析了,今天,就简单聊一聊这台发动机。

一、结构与基本布局:典型长冲程设计
图:丰田2.5L Dynamic Force发动机(A25A)示意图。该发动机采用铝合金缸体、四缸直列布局。
缸径 × 冲程 = 87.5 × 103.4 mm → 典型“长冲程”配置
发动机缸体采用开式水套铝合金缸体,内置熔入式铸铁衬套,铸铁套筒与缸体浇铸一体,衬套外表面经过特殊处理以增强与铝合金的结合并改善散热。
缸体内设导流槽(顶部水套间隔板),强化缸盖顶部冷却液循环,提高散热效率。
正面取消水冷道以缩短结构长度。机油道和水道合流设计,可加快发动机冷态预热并增强高负荷冷却;气缸间还钻有斜孔冷却通道,并在水套中加入导流垫片,使冷却液在气缸顶部更密集循环,保证上部强散热并实现热负荷均匀化。

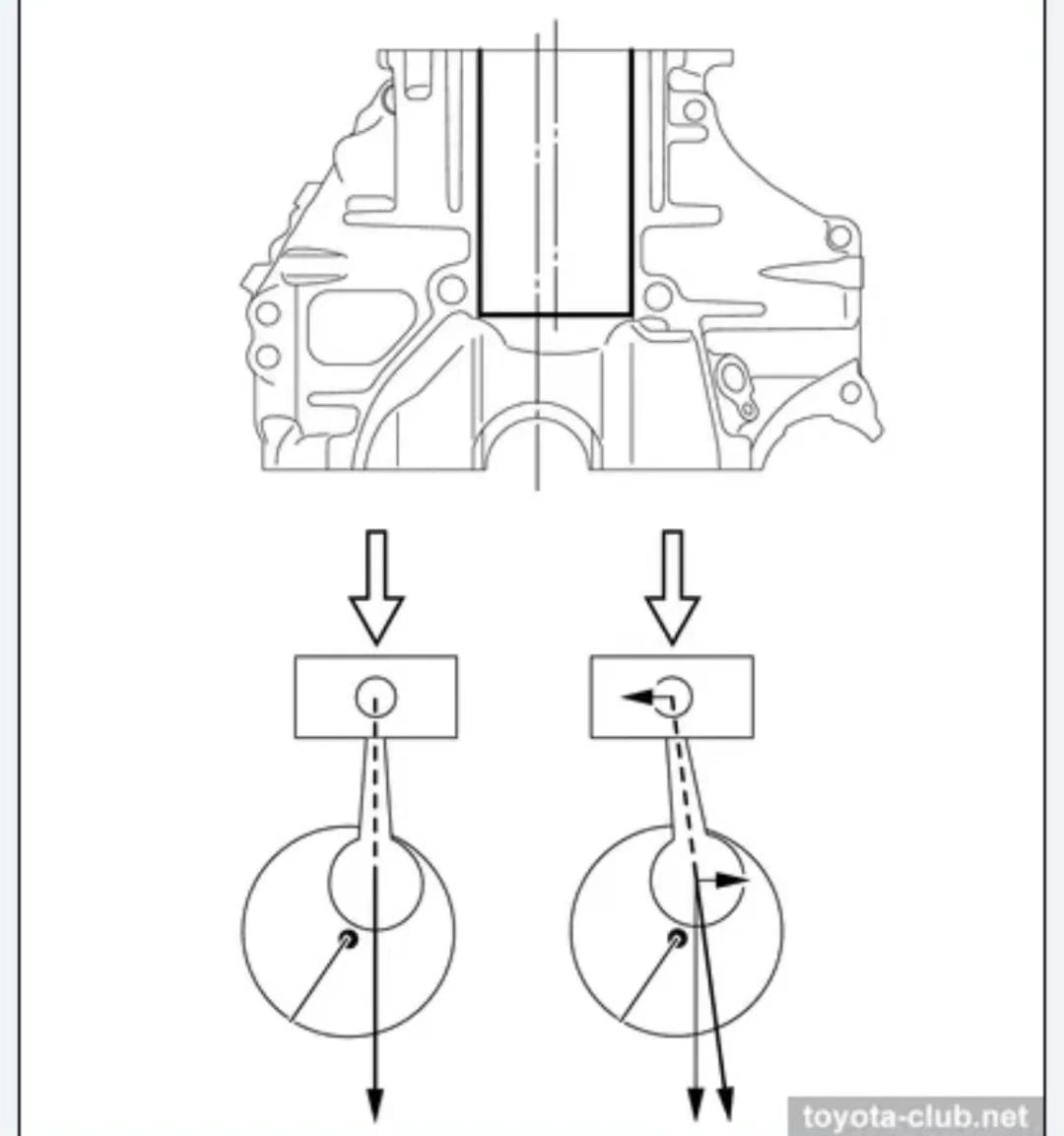
曲轴偏心布置(偏移10 mm)减少了活塞对缸壁的横向冲击,从而降低摩擦损失。连杆顶端经过镂空轻量化处理,曲柄配有8个配重块,以提高平顺性。所有这些结构优化,都为快速升温、抑爆和耐久性提供了物理基础。
优点:长冲程配合高压缩比、宽进气门夹角等设计提升了低转速燃烧效率和热效率(热效率可达40%以上),低转速下扭矩充裕、燃烧更稳定。
缺点: 进气道截面相对较小,高转速喘不上气,输出响应会在高转区显著下降。
点评:这是一个为油耗和低速扭矩极限优化的发动机架构,几乎牺牲了发动机高转性能。丰田称其更紧凑、更省油,实则也是以工程测试成绩为导向的设计,不太考虑“驾驶乐趣”。


二、高压缩比与阿特金森循环:极致节能铸就性能死穴
压缩比高达 13.0:1(混动版14.0:1),并配合VVT-iE电控进气正时实现阿特金森(米勒)循环(延迟进气门关闭)来降低抽气损失,使有效压缩比下降,适用91号普通汽油。
利用电动连续可变气门正时(VVT-iE)技术与冷却式 EGR(EGR冷却器在水路中),在部分工况下采用阿特金森循环,实现更高扩展比,从而提升热效率至40%以上。这种设计本质上是为了最大化热利用率,减少燃料消耗。
根据官方披露,A25A-汽油版热效率可达40%(混动版41%),是全球领先水平。这意味着在理想状态下每滴燃油都被充分利用。缺点是:高压缩比对燃油品质要求极高(需避用低辛烷值燃油),且极易爆震,对机体强度和降噪要求也更苛刻。
优点: 减少泵气损失,将热效率推升到40%以上;在部分工况下靠延迟进气降低有效压缩比,抑制爆震。
缺点: 高压缩比导致爆震敏感,必须使用高辛烷值燃油,燃烧稳定性依赖精准控制。几乎不留改装和提速余地。
点评: 从热效率角度看是“教科书级”设计,却让驾驶乐趣成为牺牲品。

三、进气道与燃烧室:滚流强化燃烧,牺牲高转
进气通道优化: 采用加大进排气门夹角(41°)和重新设计的进气口,使进气道形成强烈的滚流(进气座倒角设计加速气流旋转),加强缸内滚流(tumble)设计,缸内湍流比提高到近3倍。激光熔覆阀座薄而高效导热,使阀门得到更好的冷却,兼顾激进滚流和充足流量。
燃烧室优化: 发动机燃烧室类似柴油机那样被优化,燃油喷雾迅速分解、均匀燃烧,有利于极高压缩比下稳定工作。丰田使用新型6孔直喷喷嘴,保证喷射均匀性并配合歧管喷射提升低负荷工况的混合效果。

为了营造滚流,高流速的螺旋形进气道不可避免地牺牲了进气截面积。在中高速时,气体流量被“扼住喉咙”,导致高转供气不足,动力延展性差。实际驾驶体验中,5000 rpm 以上几乎没有提速感,发动机乏力安静,像是一个“高档割草机”。
优点: 高速燃烧得以实现,可使用更前的点火提前角和更高压缩比,提高燃烧效率和均匀性。
缺点: 为了激发滚流,进气道通道面积被压缩,中高转速空气流量受限,高转输出被“扼住喉咙”。
点评:丰田把“热效率”做到极致,用混动和各种热管理技巧锁定了节能目标。代价是灵敏度极高,几乎不给点火提前余地和动力余量——可谓“油耗狂魔”式的极限追求。


四、双喷射系统(D-4S):效率与复杂度的博弈
直喷 + 歧管双喷射: A25A 保留了丰田成熟的 D-4S 系统,进气歧管喷射和缸内直喷并存。直喷可精确控制燃烧、支持稀薄混合燃烧;歧管喷射可在低速或冷态时使用,防止直喷积碳。
低负荷/怠速时采用歧管喷射以提高燃烧混合效率并减少积碳;高负荷时切换直喷以获得更佳动力和高空燃比性能。
优点: 兼顾直喷效率与喷油清洁,避免了老式直喷机的积碳问题;提高燃油雾化和燃烧稳定性。
缺点: 系统更为复杂,增加喷油嘴数量和管路,维修成本和故障风险提高。
点评:丰田“不放弃任何一项技术”,既要直喷的高效又要歧管的可靠,结果就是系统复杂、成本大幅上升。

五、热管理与冷却系统:学术完美,用户买单
采用电动水泵(无皮带驱动)和多通阀门控制冷却液流向。发动机集成了恒温器、泵和水流阀门的协同控制,可根据工况调整冷却液流量与分配,实现快速暖机和最佳冷却。
由于配备了电子水泵和电控节温器,发动机控制单元可根据工况精准调节冷却液流量,快速升温和保持最佳工作温度。可变节温器或球阀节温器设计实现分路控温;冷车时节温器全开,让引擎快速达标温;高负荷时按需导流,防止过热。
第八代凯美瑞(8速自动)综合油耗低至6.0 L/100km,得益于这套高效热管理系统。暖机速度加快、摩擦阻力降低,燃油经济得到提升。

同时,冷却系统用分流阀分别控制散热器、暖风箱、变速箱油冷却器等支路。此外,缸盖顶部与机体下方均有通道绕流,配合发动机前部的水冷式 EGR 冷却器(位于节气门和EGR阀之间),可在不同工况下优化排放与效率。
此外,A25A 是丰田首款大面积采用水冷 EGR 的汽油机,通过将高温废气回流前先水冷降温,抑制爆震。缸盖内置EGR通道和水冷式EGR冷却器,在再循环一定量废气的同时降低气体温度,抑制爆震,提高热效率。
优点: 理论上在实验室中几近满负荷地发挥了发动机效率,配合混动系统堪称完美;快速热机和精细控温降低了冷启动和低负荷时的油耗。
缺点: 结构复杂,管路更多、潜在故障点多;对比传统机械水泵+恒温器,可靠性不见提升,维修成本却像豪车一样居高不下。
点评: 这是一套“论文式”的热管理方案,把效率做到了极致,但日常使用成本就像豪车一般——复杂、贵、坏点多。

六、动力输出与驾驶感受:省油与乏味并存
官方数据指出,2.5L Dynamic Force 发动机最大功率约为154 kW(约206 hp),峰值扭矩约250 N·m。配合第八代凯美瑞的8AT变速箱,低扭表现平顺有力,综合油耗仅6.0 L/100km(工信部测试值)。混动版车型热效率提升至41%,综合油耗可低于4.1 L/100km。
在日常驾驶(尤其城市低速)中,发动机表现平顺、低扭充沛、油门响应线性,十分省油,适合混合动力车型(凯美瑞混动、RAV4混动等)。不过一旦进入高转区(超5,000 rpm),动力输出急剧下降、声浪寡淡,驾驶全无。有车主调侃:“开着它就像开了一台高端割草机”。这种广度完全放弃了“转速乐趣”以换取燃油经济。
匹配8AT的凯美瑞在综合工况下百公里油耗可低至6.0L;RAV4混动版油耗也控制在低水平,充分体现节能设计的成效。
第八代Camry(2017年上市)率先搭载A25A发动机,提供低扭顺畅的日常驾驶体验。结合8速自动变速箱,其综合油耗约6.0L/100km;无论混动版还是汽油版,其热管理系统和多重节能技术均可保证平顺和可靠性。但设计复杂、EGR与冷却器件较多,长期使用中需留意水泵、节温器和EGR冷却器的状态。
2024年全球销量冠军——RAV4,搭载同款A25A发动机(美国版输出约203 hp、249 Nm)。SUV车型自重和风阻较大,行驶中扭矩需求更高,因而对冷却系统稳定性要求极高。在极限负载或爬坡时,良好的散热和可靠的热管理尤为关键;高效冷却液(包括纳米冷却液)有助于维持发动机在安全温度内。总体而言,A25A在RAV4上保证了燃油经济性和耐用性,但应避免频繁地高负荷长时间行驶。
对比本田 K 系,本田 K24 仍然保持了较高的高转速动力表现,偏运动;丰田 A25A 则完全倾向于稳中求省,更像为了法规而生。两者代表了日系大排量自吸的不同路线。
而对比马自达 Skyactiv-G,马自达的2.5L发动机也追求高压缩比和热效率,但在高转速响应上明显优于丰田。Skyactiv 更注重“人马一体”的驾驶感,而 Dynamic Force 则是冷静理性的油耗导向。性能车时代的日系黄金机头在此被完全抛弃。
A25A 是为满足全球油耗排放而生的发动机,不是为车迷保留怀旧性能的平台。对那些追求驾驶乐趣的用户而言,它几乎没有升级或改装的空间。
七、典型车型案例与温控缺陷问题
A25A-FKS 于 2017年面世后先用于第八代凯美瑞(Camry,XV70系列)、亚洲龙(Avalon),随后广泛应用于 RAV4、Lexus ES 250/260、Avalon、Lexus NX250/260 等多款车型。这些车型均侧重燃效与舒适性,满足全球排放和经济性法规。
实测和用户反馈表明,A25A 在高温、高负荷工况下出现过若干问题。最典型的是水冷式 EGR 冷却器腐蚀泄漏:当 EGR 冷却器内部破裂,发动机冷却液可能混入排气并进入燃烧室,导致排气冒白烟、积碳结晶、发动机抖动甚至熄火,还会导致冷却液液位下降并引发过热警告。据披露,丰田承认新一代高性能 EGR 系统的耐腐蚀性设计不足,很多车辆故障率高。
除了高温的问题,在短途寒冷启动时,经常出现机油乳化(油底壳内混入冷凝水)问题;在高海拔或极端温度下,混合动力和燃油车也出现过燃油系统和传感器故障(如高温时动力衰减、故障灯等)。这些均反映出该发动机为追求效率而令系统边界拉满后,可靠性和耐用性受到挑战。
电动水泵故障: A25A采用塑料结构的电动冷却泵,一些车友反映此类电泵在5–10万公里时可能发生叶轮或轴承故障。若水泵停转,冷却液循环中断,发动机温度急剧上升,可能导致熔断、机体裂缝等严重后果。
EGR冷却器失效: 低温EGR系统在降低燃烧温度和提高热效率方面起作用,但早期生产的EGR冷却器材质易腐蚀,可能导致冷却液渗入排气通道。一旦发生冷却液泄漏,不仅会造成白烟和润滑油乳化,还会显著损害散热性能。这种EGR故障在部分市场已有召回。


节温器卡滞/风扇延迟: A25A使用电子节温器控制水温。正常工作时发动机水温保持在80–84°C范围内;一旦节温器动作不良(或电子控制故障),发动机可能无确开阀,热管理失效。此外,A25A采用单个大直径风扇,由独立控制单元调节转速。在高温工况下(如市区堵车),风扇启动会有一定延迟,若水泵输出不足或节温器关闭不畅,仍可能出现温度高居不下的情况。
由于系统复杂,一旦上述部件(如水泵、EGR冷却器、电子阀等)发生故障,维修成本往往偏高。车辆召回或技术公告也主要针对燃油泵、水泵或 EGR 这类热管理部件。
以凯美瑞和 RAV4 为例,A25A 在低温测试成绩优异但在实际使用中暴露了散热/耐久隐患。尤其在高温/长时间怠速下,复杂的热管理系统反而成了“炸弹”,让丰田的可靠性传统受到了考验。
八、热管理的解决方案——传统冷却液 vs 纳米流体
丰田对A25A要求使用高品质乙二醇基冷却液。官方维修手册明确指出:出厂时加注了TOYOTA SLLC(超长寿命有机酸型乙二醇冷却液),严禁使用普通水,应当使用无硅酸盐、无胺、无亚硝酸盐的长期有机酸型乙二醇冷却液。该冷却液旨在防止腐蚀、降低泡点,并保持长寿命稳定性。
实际上,传统发动机冷却液多为水-乙二醇混合物,其热导率有限。而在同样流量下,研究表明使用纳米颗粒增强流体后,换热量可提升60%,峰值温度可降低约10%。纳米流体的优点是导热系数更高、对流换热能力增强,在强制对流散热(如汽车散热器)中效果明显。
由于更高的热导率和热容量,纳米冷却液在高速、大功率工况下能更有效地吸收和带走热量,降低发动机峰值温度。
同时,纳米流体冷却液的高导热特性,还能实现升温更快。
A25A 的电控水泵 + 多通水阀 + 冷却式EGR 让“内部循环”策略非常依赖温度达标时间;加快升温本质上是在更早满足这些策略触发阈值。比如:
ECT 从环境温度拉升到 80–95 °C 的时间缩短(暖机阶段阀门/散热器大多关闭,主要在机体/缸盖内循环)。
机油黏度更快落到工作区:机油由“边界润滑”→“流体润滑”,FMEP(摩擦平均有效压力)显著下降。
三元催化(TWC)点火更快:尾气温度与催化器内温更快越过 250–300 °C 的 light-off。
关键控制更早解锁:闭环氧传感、暖机富化退出、EGR/缸内直喷策略、VVT-iE 进气配气的角度窗等更早进入正常区。
对 A25A 的 8 大直接优势
(1)更低冷启动油耗(WLTC 城市段收益最明显)
冷机阶段需“暖机富化 + 点火滞后”来兼顾可燃性和催化升温,热效率显著降低。ECT 更快达 60–70 °C,可提前 30–90 s 退出富化/滞后,城市短途油耗常见改善 2–5%;混动因可更早停机,总行程收益可达 3–8%(冬季更高)。
(2)摩擦损失快速下降,低扭更饱满
机油黏度随温度呈指数下降,20 °C→90 °C 期间曲轴/活塞/正时机构摩擦显著减小;FMEP 典型可从~1.2–1.5 bar 降到 ~0.7–0.8 bar。升温更快 = 更早进入低摩擦区,起步/再加速的脚感更轻。
(3)更早进入精准闭环燃烧
O₂ 传感器加热虽快,但 ECU 常在 ECT ≥40–50 °C 才完整进入闭环并放宽 λ 控制窗口;更快升温让空燃比控制更稳,抖动/异响/油气异味随之减少。
(4)提前开启/扩大 EGR 工作窗,抑爆震 + 降泵气损
爆震裕度↑ → 点火可前移几度曲轴;
泵气损↓ → 部分负荷 BSFC 改善。
冷时为防凝结与失火,EGR 多被压制;ECT 达 70–80 °C(且EGR冷却器壁温达标)后方逐步引入。早启 EGR:
对 A25A 这种高压缩比 + 阿特金森/米勒标定的机型,早启 EGR 的收益更显著。
(5)三元催化更快 light-off,排放“冷起峰值”被压低
升温更快意味着更早停止为升温而刻意的点火滞后,CO/HC 的冷起峰值更低;同时催化活性区覆盖更多行驶时间,实际合规余量更大。
(6)混动热管理协同优化(凯美瑞/RAV4 双擎尤明显)
早达标 → 发动机可更早停机(EV 驱动时长↑);
机舱暖风更快,空调负荷(为取暖而强制点火/提高转速)减少,冬季能耗优势更大;
变速机构/电机油冷换热对发动机冷却回路的“拖拽”减少,总体效率更优。
(7)耐久与NVH:减少冷态磨损与油稀释
冷态占大部分零件磨损,尤其活塞裙/环与缸壁;更快升温缩短边界润滑时长。
冷凝燃油与水汽导致机油乳化/稀释、PCV 结露、油泥生成;更快升温缩短露点停留,油品劣化速度降低,机油与链条张紧器寿命更好。
(8)对 A25A“问题点”的缓解
EGR 冷却器冷凝/腐蚀风险:壁温达标更快,酸性冷凝液生成时长减少;
缸盖/排气桥“热斑”:暖机阶段内部循环 + 更高导热/更均匀的温度场,降低局部 ΔT,热应力与微裂风险下降。
内容来源:网络
本期编辑:小艾